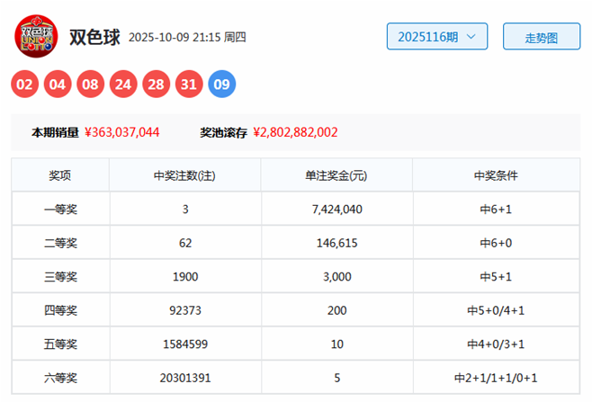
双色球第2025116期开出奖号为02、04、08、24、28、31+09。其中红球奇偶比为1:5,三区比为3:0:3,大小比为3:3,蓝球开出大号09。
韩侠第2025117期红球定位分析:
一号球分析:上期开出奖号02,该位最近10期出现范围在01-09之间,中位号码为05,其中小于中位号码的奖号开出7次,大于中位号码的奖号出现2次,中位号码05开出1次,本期该位继续关注中位号码以下的红球,考虑号码01。
二号球分析:上期开出奖号04,该位最近10期出现范围在03-20之间,中点为11.5,其中中点以下的奖号开出8次,中点以上的奖号出现2次,本期该位继续关注中点以下的红球,考虑号码10。
三号球分析:上期开出奖号08,该位最近10期出现范围在08-21之间,中点为14.5,其中中点以下的奖号开出8次,中点以上的奖号出现2次,本期该位继续关注中点以下的红球,考虑号码12。
四号球分析:上期开出奖号24,该位最近10期出现范围在13-28之间,中点为20.5,其中中点以下的奖号开出7次,中点以上的奖号出现3次,本期预计该位下降,看好出现在中点以下,推荐号码14。
五号球分析:上期开出奖号28,该位最近10期出现范围在16-31之间,中点为23.5,其中中点以下的奖号开出4次,中点以上的奖号出现6次,本期预计该位下降,看好出现在中点以下,推荐号码16。
六号球分析:上期开出奖号31,该位最近10期出现范围在19-33之间,中位号码为26,其中小于中位号码的奖号开出1次,大于中位号码的奖号出现9次,中位号码26没有出现,本期预计该位下降,看好出现在中位号码以下,推荐号码20。

蓝球分析:蓝球上期开出大号09,最近10期蓝球号码大小比为5:5,大小蓝球开出频次相等,本期看好小 号蓝球,参考蓝球03。

韩侠第2025117期双色球参考:
红球杀号参考:03、04、07、09、19、26、32、33
双色球15+5大复式推荐:01、06、08、10、12、14、15、16、17、18、20、21、23、27、31 + 02、03、04、05、08
双色球8+2小复式推荐:01、08、10、12、14、16、17、20+02、03
单注6+1推荐:01、10、12、14、16、20+03
声明:本站所有的文章均搜集自互联网,专家文章请谨慎参考,提醒:彩票是随机游戏,不存在规律!